欢迎光临香港六宝典资料大全官网

天津远东

高端螺杆泵实力制造商

35年专注螺杆泵 ,上万家企业成功见证

全国免费咨询热线

400-873-7966

当前位置:首页 » 公司动态 » NYP高粘度泵如何安装和调试双端面机械密封

NYP高粘度泵如何安装和调试双端面机械密封

文章出处:香港六宝典资料大全 人气:-发表时间:2021-05-08

NYP高粘度泵如何安装和调试双端面机械密封


NYP高粘度泵NYP-220B双端面机械密封的特点:

在很多复杂的化工场合,比如易燃易爆,强腐蚀,易污染,或者含颗粒或者纤维等等。用户除了要求泵要达到规定的技术参数以外,还对密封提出特别的要求,要求尽量做到“滴液不漏”!这种情况我们可以考虑选择磁力密封和双端面机械密封。由于磁力密封造价昂贵,很多用户为了降低生产成本,不愿意选用。其实双端面机械密封也是比较理想的选项,因为它的价格相对要便宜,而且安装和使用如果符合要求的话,也能基本做到“滴液不漏”!那么如何才能正确安装和调试双端面机械密封呢?

下面我以津远东NYP系列高粘度转子泵NYP-220B选用双端面机械密封为例,进行说明:

工况条件:介质名称:沥青含石粉磨料,温度:220度,流量:20m3/h,压力:0.8MPa。

分析:沥青含石粉,属于高温易磨损的工况,对密封要求比较高。一般单端面机械密封或者填料密封很快就会磨损失效,而且沥青低温或者遇到空气会凝固,将密封面粘死,导致密封失效。根据以上工况条件,应该选择双端面机械密封,摩擦副选择硬质合金的,比较耐磨。

                                     

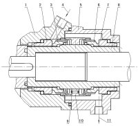
图片1.png

 

双端面机械密封结构简图

 

如图所示,件2-3和件6-7摩擦副应该选择硬质合金材质的。机械密封上的辅助密封应该选择氟橡胶的,密封效果好且耐高温。密封函内应该加入导热油或者其它密封冷却液。从加油孔4处连接到储液罐。储液罐内要保持一个恒定的压力,保持密封面的内侧和外侧的压力基本平衡。这样使得密封面的内外的压差很小,最大限度的减少了漏液的可能。


图片2.png      

NYP高粘度泵NYP-220B储液罐安装示意图


NYP高粘度泵NYP-220B储液罐内的压力怎么确定呢?首先要测量一下密封函内在工作状态的压力,(注意,密封函内的压力跟泵出口的压力是不一样的)。然后确定储液罐内的压力,略高于密封函压力0.05--0.15MPa比较合理。储液罐的安装位置,要高于泵头1.5--2.0米为好。这样始终保持密封函内充满液体。

                   

图片3.png

                        天津远东泵业NYP-220B配套储液罐安装图


NYP系列高粘度转子泵 经过这样合理安装与调试,双端面机械密封用于泵行业的实例就圆满的完成了。并且经过多年的实际应用,证明效果非常好,密封寿命也能提高很多。


感谢客户选定并认可天津远东泵业NYP高粘度泵,我们将继续为您提供更优质的产品,希望下次继续与我公司合作。我们的免费售后服务热线:4008-737-966。

此文关键词:NYP高粘度泵

返回顶部