欢迎光临香港六宝典资料大全官网

天津远东

高端螺杆泵实力制造商

35年专注螺杆泵 ,上万家企业成功见证

全国免费咨询热线

400-873-7966

prevnext

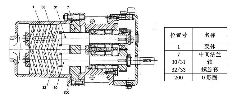
WKse双螺杆泵

  • 产品名称:WKse双螺杆泵
    所属分类:双螺杆泵
    流量范围:1-60m3/h
    工作压力:≤1.2MPa
    转速范围:≤1450RPM
    使用温度:≤150℃
    粘度范围:≤1000000mm2/s
    密封形式:硬质合金机械密封、填料密封、金属波纹管机械密封、双端面机封、集装式机封
    适用范围:造船、热电厂、化工、炼油厂、食品厂、油田。
  • 咨询热线:4008-737-966
  • 产品详情

  • 参数及型号

  • 装卸及调试

  • 联系我们

产品名称:WKse双螺杆泵(丁苯乳胶专用泵)

产品简介:带加热套等各种结构形式齐全,可以输送各种清洁的不含固体颗粒的低粘度或高粘度介质。

天津远东泵业-宏伟皮革浆料用Wkse双螺杆泵现场使用案例

Wkse双螺杆泵

工作原理及结构特点

在泵的工作过程中,螺杆与螺杆以及螺杆与衬套之间形成密封腔,液体经进口进入泵内,然后进入密封腔,随着螺杆的回转运动,有进口处平稳地被输送到出口处。

无搅动、无脉动、低噪音

这是由螺杆泵的工作原理所决定。无论任何时间、地点,对周围环境没有任何影响。螺杆泵的固有工作原理保证了其工作时,几乎为零的压力脉动。超低噪音设计以及精心挑选的其他配套转动部件,保证了整个机组即使在深夜工作,也不会对加气站附近的居民有任何影响。

干运转能力强

衬孔的相对位置由止口定位,螺杆轴由轴承支承定位,而工作期间保持螺杆和螺杆之间以及螺杆与衬套之间互不接触,因而,泵允许干运转;并允许输送各种介质(如牛顿及非牛顿流体、润滑性及非润滑性液体、腐蚀性液体等),适合于多相介质的输送。

适用于频繁启动的工况场所

每小时启动次数可达15~20次。

具有高的吸入性能自吸能力

因进口流道的特殊设计以及工作时液体的轴向速度相对较小,因此泵的NPSHr值很小,有很好的吸上能力;轴承和同步齿轮由齿轮箱中的齿轮油润滑,排出口设在泵的顶端,当停泵时,泵体内保留足够的介质,因此泵有很好的自吸能力。最大吸入真空度可达7.5m水柱。W.kse型双螺杆泵采用了特殊组合的螺杆型线,以及特殊的泵流道腔室设计,保证了泵能够在工作期间保持很高的工作效率。

操作简单,维修方便

W.kse型双螺杆泵采用独特的设计方式,使其操作和维修非常简便,可方便地拆下泵体联接螺钉,把泵体单独卸下,从而直接清洗泵体、螺旋套及机械密封,泵的过流部分无死角。可用温度低于180℃的蒸汽或其它介质对泵进行清洗或消毒。维修更换密封不影响机组其它部件,泵的工作极为可靠安全。

泵的出口可自行安置安全设施(如溢流阀、压力控制阀、安全阀等),如果需要,泵机组可提供为移动式(底座装有四个小轮子和牵引扶手)。

简单的维护满意的工作寿命

W.kse型泵采用特殊的定位结构设计,轴承承受轴向力,螺杆转子之间,转子与泵壳之间没有任何金属接触,从而保证了泵的长时间几乎无磨损的工作。巧妙的传动结构设计使得日常维护工作量几乎为零。泵的使用寿命长。

特殊设计调速灵活

根据用户的要求,可用无级调速电机驱动泵或用变频调速系统控制电机驱动泵,它们的共同特点是用调整电机的转速来调节泵的流量。


双螺杆泵螺杆


★ 清洗快速、方便

★ 可平稳、无剪切输送液体

★ 有很强的自吸能力,且能汽液混输

★ 工作元件间无接触,可夹带一定量的细小颗粒(如高岭土等)

★ 允许短期干运转(≤2min)

★ 介质粘度可达100000mm2/s

★ 改变转速来调节流量,输出压力保持稳定

★ 具有同步齿轮,轴承外置

★ 各种驱动方式均可使用

★ 可选择不同的进出口联接方式(法兰或圆弧螺纹联接)

★ 拆装方便,维修简单

★ 高效节能


Wkse双螺杆泵产品细节

○化工业:各种酸、碱、盐液、树脂、甘油、石蜡、重渣油、汽油和其它化工原料。

○油漆业:油墨、各种油漆、颜料、涂料等。

○饮料食品业:酒精、酒类、蜂蜜、糖浆、牙膏、牛奶、奶油、酱油、植物油、动物油、巧克力、八宝粥等。

○制药业:各种制剂、葡萄糖液、以及各种注射液等

Wkse双螺杆泵产品用途

Wkse双螺杆泵用户现场案例

Wkse双螺杆泵用户现场案例

Wkse双螺杆泵用户现场案例

天津远东泵业双螺杆泵厂家直供

天津远东泵业三十多年来专业生产螺杆泵、齿轮泵、高粘度泵等工业用泵,我们专心专注为您打造省时、省心、省力的流体输送方案,您的满意是我们最大的追求。全国免费咨询热线:4008-737-966


三螺杆泵,双螺杆泵,单螺杆泵,螺杆泵,WKse双螺杆泵,天津远东泵业

咨询:WKse双螺杆泵
* 为必填项

  • *
  • 点击刷新

返回顶部